EN

应用

APPLICATION

Double-Pass 超高分辨率光谱解决方案

Double-Pass 超高分辨率光谱解决方案
 

光谱分辨率是任何一个光谱测试系统都不可回避的重要参数之一! 对大多数的光谱测试系统,都对光谱分辨率有一定的要求,比如,荧光光谱,拉曼光谱,原子分子光谱,等离子体光谱等等,通常而言<0.1nm 的光谱分辨率可以满足大多数的应用需求。 但实际上,在一些极端的研究精细结构的实验中,往往希望获得极高的光谱分辨率,比如原子壳层精细结构的研究,高分辨多波长拉曼光谱测试,激光诱导同位素的等离子体的高分辨率原子光谱,太阳和恒星活动中的特定光谱线检测,SOLIS(长期观测太阳的天气光学)等等,都可能需要极高的,比如<10pm,甚至<1pm 的光谱分辨率.

对于传统的物理实验室的经典C-T 式光谱仪来说,实际上,分辨率依赖于光栅的分辨本领、系统的有效焦长、设定的狭缝宽度、系统的光学像差以及其 它参数。

R∝ M·F/W

M-光栅线数 F-谱仪焦距 W-狭缝宽度

在相同测试条件下(狭缝不变),提升光谱分辨率的方法通常有两个:一是延长光谱仪的焦距,同等情况下,光谱仪的焦距越长,分辨率越高! 但这样就意味着光谱仪的尺寸变得越来越大,光路调校变得越来越困难! 另一个有效途径是利用高刻画线的衍射光栅,,比如同等情况下,2400g/mm 的光栅分辨率相比1200g/mm 的光栅可以提升大约1倍; 但同样由于刻画光栅衍射角度的关系,高刻线光栅的波长使用范围也同样会急剧缩小,比如,1200g/mm 的光栅*大波长使用范围到1200nm, 而2400g/mm 的光栅*大波长使用范围则只能到600nm, 也就是说通常高刻线光栅都只适用于紫外波长范围的高分辨率光谱测试, 对于可见光(VIS)以及延伸的红外 NIR 波段,要想获得高分辨率的光谱,提高光谱仪的焦距几乎变成了可行的一种方案! 

与常规C-T式光谱仪焦距从150mm,到750mm 焦距不同,McPherson可以提供三款长焦距的高分辨率光谱仪,分别是1000mm,1330mm,2000mm 焦距的光谱仪,分辨率可以从0.02nm提升到0.005nm(@1200 g/mm光栅)

 

 

 

 

 

 

型号

2061

209

2062

光学设计

对称C-T式

对称C-T式

对称C-T式

焦长

1000mm

1334mm

2000mm

光谱分辨率

0.02nm

0.01nm

0.005nm

线色散

0.83nm/mm

0.62nm/mm

0.42nm/mm

校正精度

0.05nm

0.05nm

0.05nm

光谱重复性

0.005nm

0.005nm

0.005nm

焦平面

50mm

50mm

50mm

通光孔径

f/7(f/8.6)

f/9.4(f/11.6)

f/14.1(f/17.4)

光栅尺寸

120x140(110x110mm)

120x140(110x110mm)

120x140(110x110mm)

主要应用

辐射鉴定,拉曼光谱,材料科学

辐射鉴定,超精细结构,斯托克斯频移,塞曼分裂

辐射鉴定,超精细结构,斯托克斯频移,塞曼分裂

 

如果在此基础上,希望获得更高的光谱分辨率,还有其他的有效方式吗?
 

特有的Double Pass设计光谱仪

在McPherson公司的光谱仪系列产品中,Double Pass设计光谱仪显得尤为特别。Double Pass技术利用反射镜不同的反射点在同一个光谱仪中衍射两次,从而使得光谱分辨率提高一倍即相当于光谱仪焦长增加一倍的同时,保持f数也就是通光量不变。 McPherson所有的上面提到的长焦光谱仪都可以采用此类设计!

可以想象,当您用1台1米焦长的光谱仪,同等情况下却获得了2米长焦距谱仪的分辨率, 却没有损失通光量!

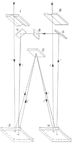
Double Pass 光路结构: 1.入射狭缝;2. 出射狭缝; 3. 准直反射镜; 4. 聚焦反射镜; 5. 光栅; 6. Double Pass反射镜;  7. Double Pass 反射镜; 8.中央孔径狭缝
 

经典的实例应用: 在美国 SOLIS(太阳长期光学观测)项目中,为了获得超高光谱分辨率, 使用的就是一个2米焦长的Double Pass 光路设计的系统 Model 2062DP  光谱仪, 已经使用超过15年,目前仍在每天更新观测的太阳光谱数据! https://solis.nso.edu/0/info/solis_gallery.html (如下图)

 

https://solis.nso.edu/0/staticImages/iss_installed2.jpg

Model 2062DP 是目前商业化的高分辨率衍射光栅光谱仪,这款焦距2m的C-T 式光谱仪,可以按照*大220mm宽度的大块光栅,光栅旋转角度可以超过70度,以允许按照Double Pass光路, 这种DP 结构可以将光谱分辨率提升1倍,同时保持数值孔径或F/no 不变.

 

下表即为2062DP 光谱仪在安装了316L/mm 的中阶梯光栅,并工作在第10阶次光谱,旋转71.69度,中心波长为600nm时的性能对比:

 

 

有效狭缝宽度(mm)

单通SP

分辨率(nm)

单道SP

分辨能力

双通(DP)

分辨率(nm)

双通DP

分辨能力

简单几何狭缝宽度

0.010

0.0004

1,445 ,054

0.0002

2,890,107

衍射 (220 -毫米光栅)

0.027

0.0011

528,072

0.0006

1,056,146

Aberration像差(单通)

0.033

0.0014

439,698

~

~

Aberration像差(双通)

0.038

~

~

0.0008

753,325

 

如果您想在紫外可见近红外及红外全波段范围内,获得极限或超高分辨率的光谱, Double Pass 双通超高分辨率光谱仪无疑会成为您满意的选择!